GRASIAN ASACUSA PBARA POSITRON-LAB HD-BEAM ADV-INST DEPRECATED-ELOG
ASACUSA-MAIN ASACUSA-SPECTROSCOPY ASACUSA-BEAM-PRODUCTION ASACUSA-ARCHIVE ASACUSA-HOW-TO
HBAR-HFS ARCHIVED
MAIN PLASMA CUSP PBAR POSITRON PROTON DETECTOR SLOWEXT ARCHIVE HOW-TO
  ARCHIVE  Not logged in ELOG logo
Message ID: 181     Entry time: Mon Apr 12 08:03:19 2021
Author: Cusp Trap 
Type: Images 
Category:  
Subject: Monday 
Attachment 1: IMG_20210412_094952_9_1.jpg  53 kB  Uploaded Mon Apr 12 10:03:18 2021  | Hide | Hide all
IMG_20210412_094952_9_1.jpg
Attachment 2: IMG_20210412_095027_2_1.jpg  76 kB  Uploaded Mon Apr 12 10:03:18 2021  | Hide | Hide all
IMG_20210412_095027_2_1.jpg
Attachment 3: IMG_20210412_140218_2_1.jpg  56 kB  Uploaded Mon Apr 12 14:04:48 2021  | Hide | Hide all
IMG_20210412_140218_2_1.jpg
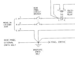
Attachment 4: mains.PNG  14 kB  Uploaded Mon Apr 12 14:05:51 2021  | Hide | Hide all
mains.PNG
ELOG V3.1.5-fc6679b