GRASIAN ASACUSA PBARA POSITRON-LAB HD-BEAM ADV-INST DEPRECATED-ELOG
ASACUSA-MAIN ASACUSA-SPECTROSCOPY ASACUSA-BEAM-PRODUCTION ASACUSA-ARCHIVE ASACUSA-HOW-TO
HBAR-HFS ARCHIVED
MAIN PLASMA CUSP PBAR POSITRON PROTON DETECTOR SLOWEXT ARCHIVE HOW-TO
  ARCHIVE  Not logged in ELOG logo
Message ID: 923     Entry time: Mon Feb 13 13:04:22 2023
Author: Dan Murtagh 
Type: Images 
Category: Dan-san 
Subject: Images 
Attachment 1: CompressorSN.PNG  585 kB  Uploaded Mon Feb 13 14:06:06 2023  | Hide | Hide all
CompressorSN.PNG
Attachment 2: CompressorFront.PNG  1.795 MB  Uploaded Mon Feb 13 14:06:06 2023  | Hide | Hide all
CompressorFront.PNG
Attachment 3: CompressorDodgyBusiness.png  2.130 MB  Uploaded Mon Feb 13 14:06:06 2023  | Hide | Hide all
CompressorDodgyBusiness.png
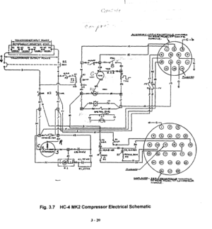
Attachment 4: WiringHC4MK2_1.PNG  76 kB  Uploaded Mon Feb 13 14:09:51 2023  | Hide | Hide all
WiringHC4MK2_1.PNG
Attachment 5: M125Compatibility_1.PNG  29 kB  Uploaded Mon Feb 13 14:12:45 2023  | Hide | Hide all
M125Compatibility_1.PNG
Attachment 6: M125Wiring_1.PNG  82 kB  Uploaded Mon Feb 13 14:15:02 2023  | Hide | Hide all
M125Wiring_1.PNG
Attachment 7: IMG_20230130_115408_4_1.jpg  215 kB  Uploaded Wed Feb 15 11:56:35 2023  | Hide | Hide all
IMG_20230130_115408_4_1.jpg
ELOG V3.1.5-fc6679b